创始人、董事长兼CEO被限高,哪吒汽车能否挣脱悬崖危机?

橙柿互动 记者 张景嵩
2025-01-14 17:00:05

还记得去年11月广州车展上的哪吒展台吗?当时,哪吒汽车展台向观众派发美式咖啡,寓意着哪吒“没事”,来回应之前经营不善的传闻。

ef014ef17fef3505dde20436abe890cb5eb9a2cc.jpg

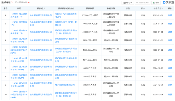
然而才过去2个多月,关于哪吒汽车的负面消息越来越多,比如原CEO张勇辞职、官网异常、股权冻结等。就在近期,哪吒汽车创始人、董事长兼CEO方运舟被北京市朝阳区法院限制高消费。同时,哪吒汽车资金流吃紧也被供应商起诉讨债。天眼查显示,去年11月至今年1月13日,哪吒汽车母公司合众新能源汽车股份有限公司(简称合众汽车)有30条被法院冻结股权的记录。据统计,累计冻结股权数额约31亿元,其中数额最大的一笔为合众汽车在众联天下汽车销售服务有限公司所持的20亿元股权。这不禁引发外界猜测,哪吒汽车到底怎么了?

微信图片_20250114162349.png

销量断崖式下滑

哪吒汽车是合众汽车在2014年推出的新能源汽车品牌。2017年哪吒汽车获得纯电动汽车生产资质,次年推出首款车型哪吒N01上市,当时新车补贴后售价为5.98万—6.98万元,后续又陆续上市了哪吒AYA、哪吒GT、哪吒L、哪吒S、哪吒V、哪吒X、哪吒U等车型,售价区间均在10万-20万元。凭借价格优势,哪吒汽车在2022年迎来了高光时期。2022年,哪吒汽车累计销量高达15万辆,位列国内造车新势力第一位。

但随着国内车市内卷加剧,价格战愈演愈烈,哪吒汽车销量受到了很大影响。2023年哪吒汽车累计销量为127496辆,只完成官方定下25万辆年目标的51%。进入2024年后,各品牌为争夺市场份额,致使内卷更严重,加上不少国产新能源品牌也陆续上市了新款车型,哪吒汽车月销虽然还保持在万辆以上,但相比于其他造车新势力的销量不免有些后续乏力。销量下滑,财务方面自然也受到了很大影响。数据显示,2023年哪吒汽车营收135.55亿元,净亏损68.67亿元。

0cc7c93fc9c166be8861523b7bc5f6dc.png

不难看出,哪吒汽车从2023年开始,资金方面或许就不太乐观。为此,哪吒汽车想过通过港股上市的方法,融资解决资金压力,但也迟迟没有下文。2024年,哪吒汽车的经营状态更加困难。2024年前10月,哪吒汽车累计销量8.59万辆,同比下滑12.13%,仅完成2024年销30万辆的28.63%。后续因不断被传负面消息,官方也停止了对外公布最新销量数据。

张勇离职、方云舟被限高

其实,早在2024年2月,就有哪吒汽车员工在社交平台发帖称,哪吒汽车未能按时发放年终奖,引来舆论关注。

时任哪吒汽车CEO张勇对此事曾发文表示,可能公司少部分员工不习惯过苦日子吧,看来有必要把寒气传递到每一个人了。

4d086e061d950a7b8b75891602f9fcd4f3d3c952.webp.jpg

进入去年下半年,哪吒汽车的负面消息更是接连不断。

2024年10月16日,有媒体爆料称,哪吒汽车上个月工资没有正常发放,且拖欠供应商货款。

当时哪吒汽车有关负责人的回应是,公司正在进行一系列积极的内部管理变革,包括工资结构调整和绩效考核体系的优化。

6f23c7c8bb564dd7af431460bfaa9b64.jpeg

可到了去年10月末,哪吒汽车又传降薪消息。对此官方回应是,面对当前复杂多变的市场环境,公司必须采取措施来应对挑战,其中包括实施机构精简、裁汰冗员、业务聚焦、扁平化管理等一系列举措。

去年11月7日,哪吒汽车又被传出启动大比例裁员。据媒体报道,哪吒汽车此次裁员比例最高或达到70%,各部门有差异。哪吒汽车则称其在构建更集中高效的组织架构,分部门按业务要求和未来发展需要进行整合。

此后的哪吒汽车,再次遭遇一系列经营问题。天眼查显示,从去年11月至今年1月13日,哪吒汽车母公司合众汽车有30条被法院冻结股权的记录。据统计,累计冻结股权数额约为31亿元,其中数额最大的一笔为合众汽车在众联天下汽车销售服务有限公司所持的20亿元股权。

687ad185-7436-4768-a08e-fc4ea139f9d3.jpg

此外,这家企业还在危机四伏的紧要关头上演了“换帅”大戏。去年12月6日,哪吒汽车发布公告称,因公司战略调整,原CEO张勇不再担任首席执行官,转任公司顾问,哪吒汽车创始人、董事长方运舟兼任CEO,直接领导公司的日常运营和战略规划。

在给公司全员信中,方运舟宣布了哪吒汽车的三个目标:一是公司将大刀阔斧改革,目标直指全球市场;二是在改革风暴下,IPO 将成为首要任务;三是力争2025年整体毛利率转正,2026年公司整体盈利。

65639635-8aac-48b7-abb6-8a86fdcb7330.jpg

对于这些长远目标能否实现,目前还不好判断。但是目前全国多家哪吒汽车销售门店被曝改换门庭、桐乡工厂一度停产、哪吒汽车官网出现异常、就连方运舟也被爆出限制高消费。就眼前情况来看,哪吒汽车似乎尚未走出危机。

发展全球市场能救哪吒吗?

对于哪吒来说,发展全球市场或许是一个不错的选择,既没有国内车市的“内卷”,又可以反哺国内品牌向上。

自去年11月以来,哪吒汽车多次发布出海相关动态,签约玻利维亚代理商、在巴西扩展经销商数量、在印尼雅加达开设新店......虽未完全放弃国内业务,但哪吒汽车将业务重心转向海外已是不争的事实。

微信截图_20250114165423.jpg

近日有媒体报道称,南宁产业投资集团与合众汽车达成战略合作。前者作为南宁市管企业,将对后者提供供应链金融支持,以帮助其统筹、组织在南宁基地的原材料采购、生产、物流,KD件出口等业务,从而助力其海外车型的生产与交付。随后,哪吒汽车官方也确认了消息的真实性。

在哪吒汽车分享的一则宣传稿中也提到,在“狼多肉少”的红海市场中,“海外市场已成为其手握最有力的筹码,也是讲好资本故事的关键。”

事实上,海外市场也同样是风险与机遇并存。地缘政治的不确定性、出口市场的贸易壁垒、品牌认知度较低以及本地化能力的不足,都为中国车企出海带来了挑战。如今在海外市场混得风生水起的几家中国车企,哪一家不是摸着石头过河,踩过很多坑也付出了很大的代价。例如长城汽车,当年就被俄罗斯代理诈骗,损失5840万美元;奇瑞死磕北美市场近20年无果等。

1000x0_autohomecar__ChsEmV0etVCAV_rqAABPdwlKVGc881.png.webp.jpg

从目前的数据看,哪吒汽车在海外销量基本盘还远不足以为其提供自身造血能力。据泰国工业联合会、泰国交通运输部消息,去年9月哪吒汽车在泰销售新车704台。在泰国上市三个月以来,哪吒汽车旗下车型累计实现上牌量1122台。近日,哪吒汽车的哪吒X和哪吒AYA在新加坡上市,据哪吒汽车称半天收获52张订单。这些成绩距离在当地形成规模效应恐怕还有很长的一段路要走,如今的哪吒汽车最需要解决的是资金“输血”问题。

微信截图_20250114165538.jpg

与哪吒汽车在国内面临种种困境相反的是,哪吒汽车官网、哪吒汽车官方视频号上不断推出哪吒汽车巴西首批经销店即将开业、哪吒汽车在新加坡新车上市等消息,似乎哪吒汽车在海外市场一片红火。哪吒汽车的国内困境是否影响其海外布局?目前哪吒汽车海外销售究竟如何?带着这些疑问,橙柿互动电车志记者尝试联系哪吒汽车市场公关部工作人员,但对方回复“已离职“。同时推荐了一位哪吒新的市场公关工作人员,对方称:海外市场处于正常运营状态,且在稳步拓展中,哪吒汽车已拿下2024年泰国新能源汽车市场销量第三名的好成绩,国内复工复产事宜最近会有消息释放。


责任编辑:张景嵩 审核:程洁 邵宇峰
热门评论

橙柿互动,互动城市

打开App